Vai al contenuto
View in the app

A better way to browse. Learn more.

Autopareri

A full-screen app on your home screen with push notifications, badges and more.

To install this app on iOS and iPadOS
  1. Tap the Share icon in Safari
  2. Scroll the menu and tap Add to Home Screen.
  3. Tap Add in the top-right corner.
To install this app on Android
  1. Tap the 3-dot menu (⋮) in the top-right corner of the browser.
  2. Tap Add to Home screen or Install app.
  3. Confirm by tapping Install.

Ferrari deposita brevetto per bilanciamento di motori V2

Featured Replies

Inviato

Vi prego, qualcuno mi dica che non è vero...

E se Ferrari stesse progettando una moto?

Ferrari potrebbe essere intenzionata a esplorare la possibilità di produrre una motore a combustione interna a due cilindri in configurazione a V. A rivelarlo è una richiesta di brevetto presentata dalla stessa Casa di Maranello.

Delle immagini allegate alla richiesta di brevetto si mostra il motore installato su una moto “cruiser-style”, anche se la scelta sembra puramente a titolo dimostrativo. L'ipotesi per ora suggestiva aprirebbe davvero impensabili scenari per le “rosse”.

La produzione di una moto Ferrari, infatti, permetterebbe a Fiat Chrysler Automobiles (FCA) di capitalizzare sulla vasta scala l'appeal commerciale del marchio Ferrari e di offrire un'autentica alternativa all'altra Casa motociclistica italiana, la Ducati, di proprietà Audi. E va ricordato che Daimler Mercedes pare essere interessata a MV Agusta.

La mossa potrebbe sarebbe anche la soluzione ideale al desiderio dell'amministratore delegato di Fiat Sergio Marchionne di massimizzare l'uso del marchio Ferrari per contribuire allo sviluppo e alla crescita di FCA e consolidare la posizione del Gruppo anche in termini finanziari. Marchionne recentemente ha sostituito il presidente della Ferrari Luca Cordero di Montezemolo che si è dimesso in mezzo a ridda di voci su presunti scontri con Marchionne sul futuro della divisione vetture stradali di Ferrari e pare anche per la sua riluttanza a ipotizzare nuove tipologie di sfruttamento del marchio.

E se Ferrari stesse progettando una moto? - Il Sole 24 ORE

Ferrari deposita un brevetto per un motore V2

Un V2 apparentemente motociclistico spunta fra i brevetti depositati a nome dell’ingegner Favaretto. Un ritorno alle due ruote o semplice stratagemma per tenere le carte coperte?

ferrari-v2--1-5.jpg

Ferrari e le moto non sono mai andati granché d’accordo: le due ruote sono state sempre viste con un po’ di superiorità snob dalla dirigenza del più celebre fra i marchi delle sportive a quattro ruote.

Ma esistono precedenti

In passato c’è stato un solo esempio, peraltro abbastanza forzato, di moto con il marchio Ferrari che non ha comunque avuto né un seguito di serie né grande affetto da parte degli appassionati del Cavallino. Suona quindi estremamente strano che l’ingegner Fabrizio Favaretto, in forza a Ferrari S.p.A., depositi un brevetto per un propulsore bicilindrico a V che difficilmente può trovare impiego su un mezzo diverso da un motociclo, almeno prestazionalmente parlando.

L'immagine su uno dei disegni depositati del brevetto è evidentemente una moto, ma è prassi comune depistare le indagini con schemi di fatto del tutto disgiunti dalla realtà del progetto.

Schema costruttivo originale

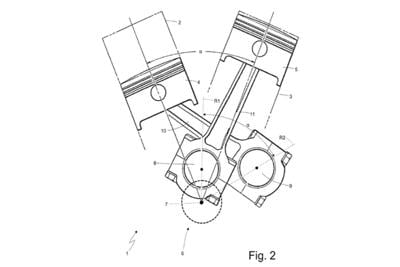
L’oggetto del brevetto è un motore a combustione interna con due cilindri a V i cui pistoni, evidentemente ospitati su perni di biella diversi, hanno fasatura marcatamente sfalsata arrivando ad incrociare le bielle – nella vista laterale – annullando così le vibrazioni del primo ordine. Una soluzione affascinante che potrebbe evitare l’adozione di contralberi d’equilibratura su propulsori a V stretta, simulando il comportamento di una configurazione a V di 90° come avviene ad esempio su alcuni propulsori stradali Honda.

Una moto marcata Ferrari? Lo escluderemmo, ma è invece vero che Ferrari non è nuova a consulenze esterne verso il mondo delle moto, soprattutto quando il marchio è di quelli prestigiosi o amici – ricordate il propulsore quadricilindrico della F4, inizialmente identificata come CagivaØFerrari?

Consulenza esterna. Ma per chi?

La soluzione sarebbe affascinante, anche se in questo preciso momento storico si fatica ad identificare un marchio papabile: con Ducati di proprietà Audi ed MV Agusta in avanzato stato di colonizzazione da parte di Mercedes resterebbero solo Aprilia e Moto Guzzi. Ma per quanto affascinante (soprattutto in ottica Guzzi) l’ipotesi appare davvero poco plausibile.

Ci sembra più probabile che il marchio del cavallino rampante stia pensando ad una V stretta per i suoi prossimi propulsori auto, presentando la minima unità (due cilindri) per cui la configurazione può avere senso ma con l’idea di replicarla creando motori a 6, 8, 10 o 12 cilindri. Restiamo in (curiosa) attesa di ulteriori sviluppi.

Ferrari deposita un brevetto per un motore V2 - News - Automoto.it

Modificato da J-Gian
--- aggiunto contenuto articolo ---

Inviato

Inoltre le discussioni non si aprono così, a cavolo di cane. :?

Un titolo inutile e stupido come "Ditemi che non è vero.... " e un messaggio di apertura dove viene solo incollato un link esterno e non viene riportato NULLA della notizia sono elementi sufficienti a far intervenire i moderatori per un caso di SPAM.

Inviato

Non per mettere il dito nella piega ma una moto marchiata Ferrari è veramente esistita. Mi pare negli anni '80.

Inviato

Domandona. Rispondete sinceramente.

Quanti, del centinaio di utenti che hanno aperto la discussione nella scorsa ora, hanno aperto il link e letto il contenuto dell'articolo?

Intendo, prima che io aggiornassi il titolo della discussione un paio di minuti fa.

Quanto, limitandosi a leggere il titolo dell'articolo visibile dal link, hanno pensato che la notizia sia che Ferrari sta preparando una moto?

Perchè la notizia non è quella.

Ma è quello che succede quando si posta una notizia... senza postare la notizia. E magari senza nemmeno averla letta.

La "notizia" che riporta il Sole 24 Ore è solamente che gira un rumor online (e già qui, partiamo da basi traballanti e citazione fonti zero) secondo cui Ferrari avrebbe depositato un brevetto... di un motore bicilindrico a V. E tra le immagini illustrative verrebbe mostrato uno schizzo di questo motore a V montato su una moto.

Cosa significa?

Che, ammesso che tutta questa catena di "si dice" sia credibile e confermata, Ferrari avrebbe depositato una qualche soluzione (per nulla specificata, anzi sembra non interessare proprio) innovativa (altrimenti non servirebbe un brevetto) adatta ad un motore bicilindrico a V.

Questo significa che stanno progettando una moto?

A casa mia questa si chiama speculazione azzardata, per non arrivare a parlare di "scoop inventato". 8-)

Inviato
Domandona. Rispondete sinceramente.

Quanti, del centinaio di utenti che hanno aperto la discussione nella scorsa ora, hanno aperto il link e letto il contenuto dell'articolo?

CUT

ehm... io, ma giusto perché stavo dal PC. :lol:

Comunque un bicilindrico by Ferrari esiste già. :lol:Anche se in maniera non diretta/ufficiale...:comp::lol:

PS: (Non fate leggere il topic a RVG che potrebbe avere uno shock fatale). :mrgreen:

Inviato

Bicilindrico? Per me metteranno il Twinair a metano sulla 458 per abbassare la co2 in stile Aston Martin :D

Volkswagen Polo 1.0 TGI 90 CV Comfortline (06/2021) Ex: Ford Fiesta 1.0 EcoBoost 101Cv Individual 5p 03/13 - Peugeot 206 1.4 HDi 68cv 3p XT 01/05 

 

 

Inviato
Domandona. Rispondete sinceramente.

Io no ma volevo fare sfoggio del mio sapere :mrgreen:

Comunque non mi pare nulla di osceno. Ferrari è pur sempre un'azienda ricca di ingenieri quindi inventare e brevettare fa parte del suo operato. Oh sbaglio?

Inviato
Non per mettere il dito nella piega ma una moto marchiata Ferrari è veramente esistita. Mi pare negli anni '80.

a parte la MBA 125 da gran premio con le fusioni dei carter prodotte da Ferrari (e marchiate col cavallino), e a parte i progetti sviluppati dall'HPE di Piero Ferrari, non mi vengono in mente altre moto :pen:

I'm considered quite an expert on the subject of going off the road (A. De Portago)

Inviato

il rumors è partito da autocar Ferrari patents V-twin engine design | Autocar

ma sono veramente dei cialtroni..... su allpar un tipo ha svelato l'arcano mistero......Patent US20140000547 - "v" configuration engine cylinders and crank with antiphase first order ... - Google Patents

e fa notare che sulla parte destra del brevetto c'è scritto : 1. An internal combustion engine comprising: at least two cylinders....

bhe questo basta per smentire la vaccata della moto... :roll:

Crea un account o accedi per lasciare un commento

Background Picker
Customize Layout

Account

Navigation

Cerca

Cerca

Configure browser push notifications

Chrome (Android)
  1. Tap the lock icon next to the address bar.
  2. Tap Permissions → Notifications.
  3. Adjust your preference.
Chrome (Desktop)
  1. Click the padlock icon in the address bar.
  2. Select Site settings.
  3. Find Notifications and adjust your preference.