Vai al contenuto
View in the app

A better way to browse. Learn more.

Autopareri

A full-screen app on your home screen with push notifications, badges and more.

To install this app on iOS and iPadOS
  1. Tap the Share icon in Safari
  2. Scroll the menu and tap Add to Home Screen.
  3. Tap Add in the top-right corner.
To install this app on Android
  1. Tap the 3-dot menu (⋮) in the top-right corner of the browser.
  2. Tap Add to Home screen or Install app.
  3. Confirm by tapping Install.

Featured Replies

Inviato
7 ore fa, Nocte favente scrive:

Confermo Pininfarina, anche se non credo sia di Fumia.

 

Esattamente.

Apparsa di recente qui e là su FB, e commentata dallo stesso Enrico, il quale ha confermato di non aver nulla a che fare con questa proposta (lui era già uscito da là) aggiungendo che "altri" in Pinin avevano pensato di prendere il frontale del 916 da lui ideato e proporlo anche su questa "erede-155".

"... guarda la libidine sarebbe per il si, ma il pilota dopo il gran premio ha bisogno il suo descanso... e poi è scattata la regola numero due: perlustrazione del pueblo e ricerca de los amigos... ah Ivana, mi raccomando il panta nell'armadio, il pantalone bello diritto. E un po' d'ordine in stanza... see you later!" (Il Dogui, Vacanze di Natale)

  • Risposte 3.7k
  • Visite 1.5m
  • Creato
  • Ultima Risposta

I più attivi nella discussione

Most Popular Posts

  • Mah io direi che nel caso della FL è corretto ci sia una targhetta del genere perchè è un FL fatto da Giugiaro. Per quel che riguarda ciò che accadde anni prima, ognuno ha le sue opinioni su come sian

  • Noto con grande piacere che la quarantena ha riportato vita in queste discussioni sulle Mai Nate, che amo alla follia. ?. Do il mio piccolissimo contributo con le immagini di alcuni modelli di stile i

  • Non sono d'accordo, perché la caratteristica del frontale di kamal concept (idea a mio parere riuscita) è quella di avere i due lobi del trilobo rialzati, quasi a metà dello scudetto. È un'idea che ha

Immagini Pubblicate

Inviato

C'entra poco e niente con gli ultimi argomenti, ma recentemente ho trovato questo ritaglino della rivista francese "GAZOLINE" che racconta di un restyling della Giulietta "storica", mai venuto alla luce.

 

Alfa-Romeo_Giulietta_1963_restyling_Bertone.JPG.f664d738461ca0a6c2f74c0d63fa18d3.JPG

 

La didascalia, sebbene in  francese, credo sia abbastanza comprensibile.

Comunque di tratta di un lavoro di Bertone, collocato attorno al 1963, per aggiornare Giulietta e mantenerla come modello di attacco alla base della gamma Alfa Romeo essendo arrivata nel frattempo la modernissima Giulia, che si collocava però appena più in alto.

 

Sebbene l'anzianità della sezione centrale (il giro-porte) si noti, devo dire che il rifacimento completo di frontale e coda sembra piuttosto riuscito. In particolare i fari rettangolari le donano un'aria assai moderna per l'epoca. 

Però riconosco che la scelta di mettere da parte questa idea di mantenere in vita un modello comunque obsoleto, per abbracciare convintamente la novità Giulia e in seguito proporla anche in versione base 1300 per rimpiazzare completamente Giulietta, sia stata quella giusta.

Inviato
1 ora fa, angeloben scrive:

mai venuto alla luce.

Era già saltata fuori 2 anni fa su questo stesso topic, ma nel frattempo gli hanno fregato i copricerchi :

 

On 17/01/2022 at 12:32, Pandino scrive:

E sempre a proposito di discutibili facelift abortiti...

 

6969bf28-97c4-456f-a589-720c88efad2f.thumb.jpg.d780747d06c15141afcf2088d7680199.jpg

 

"Non eri Einstein, non eri niente."

Inviato
40 minuti fa, L' informatore d'auto scrive:

Era già saltata fuori 2 anni fa su questo stesso topic, ma nel frattempo gli hanno fregato i copricerchi :

 

 

images?q=tbn:ANd9GcRf7P2Hg7O0upLmbfF6j0z

Alfa Romeo GT 3.2 V6 - 2007 e Skoda Fabia 1.0 TSI 110 cv Montecarlo - 2023

Altre in uso

Renault Clio 160 E-tech Tecno - 2026

Inviato
8 ore fa, j scrive:

 

La ricostruzione forse no ma il modellino sta ad Arese 

 

Si, accanto alla Mito GTA

Screenshot_2024-09-21-17-49-00-275_com.instagram.android-edit.thumb.jpg.29c3c73bd85441a658f455cf13421585.jpg

  • 2 settimane fa...
Inviato

Scusate se torno a un vecchio argomento, cioè i fuoristrada mai nati di Alfa Romeo per gli anni Ottanta.

 

Nel forum, su questa discussione in particolare, sono passate varie immagini e informazioni di entrambi i progetti, il più grande AR146 e il piccolo AR148, noti da tempo con i nomignoli di Magnagona e Magnaghina rispettivamente, con numerose varianti civili e militari. Ecco qualche post:

 

On 28/1/2022 at 16:38, Sarrus scrive:

per la serie "Alfa Romeo e i SUV mai nati", qualche inedito a tema Magnaghina e Magnagona (AR 146 e AR 148) ed anche un prototipo a base Nissan Patrol ma con motore Alfa, risalente ai tempi della Alfa Romeo - Nissan Automobili

 

spacer.png

spacer.png

spacer.png

spacer.png

spacer.png

spacer.png

spacer.png

spacer.png

spacer.png

spacer.png

spacer.png

spacer.png

spacer.png

spacer.png

spacer.png

spacer.png

spacer.png

spacer.png

spacer.png

spacer.png

spacer.png

spacer.png

spacer.png

spacer.png

spacer.png

spacer.png

 

http://quandoilbiscionemordeva.forumalfaromeo.it/forum/viewtopic.php?f=82&t=354&sid=67d7d5d48dc4cc405ba566d755f27a85&start=20

 

 

On 30/9/2022 at 08:24, KimKardashian scrive:

1986 AR148 “Barbie” di IDEA, proposta per versione civile dell’AR148 Magnagina

31658DF3-A714-4711-B801-3F71EB9B1C80.jpeg

23CFA2DB-E1CD-4131-8339-99EBD903F2EC.jpeg

 

On 4/10/2022 at 05:10, max_pershin scrive:

 

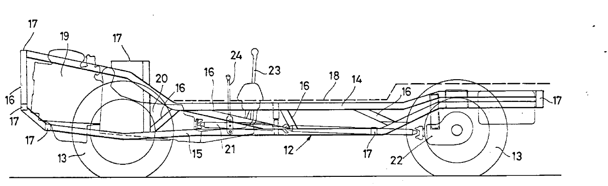
To be honest I think the project was done before 1986, probably in 1982-83. In the IDEA brochure it was described as a project for a multi-shape vehicle developed by IDEA for Alfa Romeo. The engine and mechanics came from the Alfasud. It was designed for young people to use in town, on the beach or in the countryside. Built on the flat platform the Barbie vehicle can change shape using easily made materials at low cost.

Also the patent (by Alfa Romeo Spa) of the flat chassis was registered on February 13th of 1986. It means that the flat chassis was developed long time before the application date.

 

This low-res picture from the brochure shows the flat chassis and two variants of the car, both designed by IDEA.  

 

image.png.d4617139b85904aa972f21331c4d9e78.png

image.png.00a59224572d1ca4b90479a9ca017692.png

image.thumb.jpeg.68a6093d83d6c97f27470dbcde297286.jpeg

image.jpeg.dff2629223b785c01f5bfb88c828a01f.jpeg

IT1188372B.pdf 774.96 kB · 42 downloads

 

Tutto ciò perché mi sono imbattuto in un'immagine nuova per me, di un ulteriore prototipo della versione civile della piccola AR148.

Non differisce troppo da quelle sopra postate da @max_pershin, ma è chiaramente un'altra variante, la cui foto proviene dal libro "Alfa Romeo 33" di Giorgio Nada editore.

Alfa-Romeo_148_Magnaghina_civile.jpg.bfa30fe9fa5c7426ad29717896d2c447.jpg

 

Studio dei primi anni Ottanta, con un'ispirazione ancora molto "Campagnola" (la FIAT intendo...), con un misto di Panda e di Suzukino (il Samurai SJ410/413).

Non so che ne pensate voi, ma per l'eventuale data di uscita sul mercato (seconda metà anni Ottanta, a far presto 1986?), a me sarebbe parsa già un pochetto datata. I giapponesi sembravano un passo avanti; forse in una classe più grande, ma il Pajero del 1982 o il Nissan Patrol del 1980 erano già più moderni di questo. E comunque nel 1988 sarebbe uscita la Vitara, tanto per dire.

 

 

Paradossalmente, persino quest'altro "accrocchio" altrettanto oscuro e misterioso della progettazione fuoristradistica italiana di quel periodo, sembra quasi più moderno:

RepettiMontiglio_prototipo-fuoristrada.jpg.8237298a6455817c62e0d5b47b94cc7c.jpg

Non ho molte informazioni in merito (eufemismo, non ne so sostanzialmente nulla! 😆) . 

Dovrebbe essere un prototipo della Repetti-Montiglio, la carrozzeria di Casale Monferrato specializzata in blindature, che forse (ma forse e basta... ché sta cosa non è mi affatto chiara) aveva costruito anche la più nota Magnaghina AR148 militare presentata all'esercito nel 1985.

Comunque, questa qui non sembra ovviamente abbia che fare con Alfa, quanto piuttosto con FIAT. La calandra con le barre inclinate è un chiaro indizio, ma anche la componentistica sembra riportare alla produzione torinese del periodo: maniglie Ritmo; sedili, parabrezza e prese d'aria per bocchette laterali della Panda; cerchi tipo Y10 4WD (anche se non sembrano uguali uguali...).  Secondo l'unica fonte che ho individuato ("The complete encyclopedia of four wheel drive vehicles"), è indicata come "Panda 4x4 soft-top", ma non è dato sapere molto di più.

 

Modificato da angeloben

Inviato

Probabilmente sarebbe stata immessa sul mercato prima dell'86, anche si Alfa spesso le tempestiche venivano cannate o i modelli ritardati troppi vedasi Alfa6

Crea un account o accedi per lasciare un commento

Contenuti simili

Background Picker
Customize Layout

Account

Navigation

Cerca

Cerca

Configure browser push notifications

Chrome (Android)
  1. Tap the lock icon next to the address bar.
  2. Tap Permissions → Notifications.
  3. Adjust your preference.
Chrome (Desktop)
  1. Click the padlock icon in the address bar.
  2. Select Site settings.
  3. Find Notifications and adjust your preference.