Vai al contenuto
View in the app

A better way to browse. Learn more.

Autopareri

A full-screen app on your home screen with push notifications, badges and more.

To install this app on iOS and iPadOS
  1. Tap the Share icon in Safari
  2. Scroll the menu and tap Add to Home Screen.
  3. Tap Add in the top-right corner.
To install this app on Android
  1. Tap the 3-dot menu (⋮) in the top-right corner of the browser.
  2. Tap Add to Home screen or Install app.
  3. Confirm by tapping Install.

Maserati MC25 Folgore 2025 - Prj. M240 BEV (Notizie)

Featured Replies

Inviato
5 minuti fa, Beckervdo scrive:

La cosa brutta non la riesco a trovare. Ricordo che era scattata accanto alla scritta Audemars Piguet che era sull'ala posteriore della Coupe' (ex 4200).

Non ricordo se era il Motor Show di Bologna.

 

BINGO! Motor Show anno 2005

ragazzemtorshow3.jpg

 

apperó..anvedi che audermas e che piguet!

  • Risposte 1.7k
  • Visite 437.9k
  • Creato
  • Ultima Risposta

I più attivi nella discussione

Most Popular Posts

  • scusate sarà la giornata un po cosi, ma io non riesco a pensare ad altro....Della macchina non mi frega nulla in questo momento.Almeno fino a che non avrò terminato di scrivere... Ma della nostra pove

  • semplice: cambi motore e la sua disposizione, cambi retroterra, cambi sospensioni anteriori e posteriori, cambi avantreno, aggiungi modulo ibrido, cambi carrozzeria, cambi tutto  l’impianto elettrico,

Immagini Pubblicate

Inviato

Ma scusate Modena lo saturano solo con questa supercar? Cioè come volumi che può fare? Mille unità l’anno... se non riuscivano a saturarlo con 4C e GranTurismo ... ....

Inviato
3 minuti fa, KimKardashian scrive:

Ma scusate Modena lo saturano solo con questa supercar? Cioè come volumi che può fare? Mille unità l’anno... se non riuscivano a saturarlo con 4C e GranTurismo ... ....


Si parla di 2000 pezzi anno tra coupé, targa, PHEV e BEV. Poi c’è la produzione dei motori V6, da capire se solo per M240 o per tutte le Maserati.
E poi c’è la parte di atelier.

Si, non so se riescano ad assorbire così tutta la forza lavoro!

Inviato
28 minuti fa, KimKardashian scrive:

Ma scusate Modena lo saturano solo con questa supercar? Cioè come volumi che può fare? Mille unità l’anno... se non riuscivano a saturarlo con 4C e GranTurismo ... ....

 

Si anche a me sembra strano...hanno fatto

2007 - 7500 QP V + GT

2008 - 9300 QP V + GT

2009 - 4100  QP V + GT + GC

2010 - 5850 QP V + GT + GC

2011 - 6160 QP V + GT + GC (Fonte ANFIA)

a Modena. E poi 2020 con 2000 piu i motori sono saturato? Non posso credere. E poi 2000 uniti annuale di una Maserati motore centrale a me sembra completamente surreale, sia la stessa cifra come tutti i modelli McLaren in un anno insieme ?

 

Inviato
 
maserati en genes, in francese= nei geni=geneticamente maserati
Immaginavo fosse un gioco di parole in inglese
EnGenes = engines = motori
Genes = geni



☏ SM-G950F ☏

Inviato

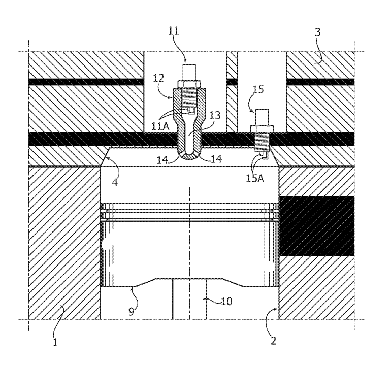
"...The pre-chamber is, not used for engine operation with poor dosing, but to increase resistance to engine detonation. The engine can thus be configured with a high compression ratio, with a significant reduction in fuel consumption at the same power level. The second spark plug is only activated at low and medium engine loads to stabilize combustion. ..."

 

https://patentscope.wipo.int/search/en/detail.jsf?docId=US239193347

 

ZZ_EdDyk8CBkMo08w_TAQhRk_ZjTtxZasNRjlz-MhUL7-lOMqVASUwKus-e7PUwebnoorwHh32DdwY3HcgSPFZs6IgstMImiPNu1-tvN4qUb92Nhn-vT75L5i4s2oeBsX4W--5MPTQjFiNBEuE-VRjMw8T0MxZ1m.png.a5742b4edd459f68271527e30645eaa2.png

Inviato
16 ore fa, T a u r u s scrive:

L'Alfa 8C non sarebbe posizionata più in basso di M240 anzi sarebbe più esclusiva, infine una supercar Alfa Romeo a motore centrale avrebbe maggiore interesse collezionistico di una Maserati a motore centrale. 

 

La risposta è se a fini collezionisitci vale di più una MC12 o una 8c competizione. 

 

Ribadisco che, dal mio punto di vista, hanno travasato il modello su Maserati poiché si sono resi conto che per questa categoria di auto, hanno più possibilità di creare margini a brand Maserati (al momento). Per AR, come detto mille volte, manca tutto il contorno, e sebbene sia affiancato a Maserati ROW quanto a dealers, è sempre inteso più basso di Maserati come marchio. Intanto devono partire a lavorare da lì e da una gamma credibile, ma devo essere tenaci, poiché i soldi li hanno se vogliono....

 

Considero tuttavia il ritardo che hanno accumulato su Maserati ancora peggio della situazione in cui versa AR. Maserati  ha bisogno di una terapia intensiva, specialmente nel comparto flagship. Speriamo che questa MMXX sia all'altezza, ma pare di si. Però al posto del V6 ci avrei piazzato un V8 lì dietro....ma visti i tempi e l'elettrificazione, ci può anche stare....anche se da appassionato mi rattrista che la macchina più alta in gamma abbia un "misero " 3 litri. Tuttavia, anche la Ford GT è nella stessa situazione....e proprio schifo non fa, anzi!

Modificato da VuOtto

in garage: diversi 4, 6 e 8 cilindri.

 

Inviato

si penso anch'io che sia questa la strada da seguire, prima rilanciare maserati, poi quando ci saranno i telai nuovi passarli ad alfa romeo per fare l'alto di gamma alfa, é l'unica anche perché é giusto che le auto nuove "grosse" arrivino prima come maserati e poi come alfa

 

comunque MMXX é anche = maserati model 20 (2020) ma anche la cifra 2020 in caratteri romani, M=mille, X=10

 

M+M+X+X=2020

Inviato

 

19 hours ago, VuOtto said:

Un conto è andare a spendere 200 mila euro in una concessionaria Maserati che è a sè stante, lussuosa, figona ecc, un conto è andare in un'organizzato FCA (con tutti il dovuto rispetto) o nelle poche concessionarie Alfa monomarca che esistono, con i piazzali costellati di parabrezza con adesivi "offerta della settimana".

 

C'è già stato chi ha staccato assegni da 200 mila Euro in saloni in cui non erano nemmeno esposte 4C, Giulietta, Giulia e Stelvio, ma MiTo, 147, GT, 159, Brera e Spider.

 

13 hours ago, KimKardashian said:

Ma scusate Modena lo saturano solo con questa supercar? Cioè come volumi che può fare? Mille unità l’anno... se non riuscivano a saturarlo con 4C e GranTurismo ... ....

 

Ricordiamoci che a Modena si sta aggiungendo anche un impianto di verniciatura...

 

2 hours ago, VuOtto said:

La risposta è se a fini collezionisitci vale di più una MC12 o una 8c competizione.

 

Assolutamente non comparabili, né per prezzo iniziale, né per volumi di produzione, né per pedigree racing.

Modificato da MacGeek

FirmaBarcode.gif

Ospite
Questa discussione è chiusa.
Background Picker
Customize Layout

Account

Navigation

Cerca

Cerca

Configure browser push notifications

Chrome (Android)
  1. Tap the lock icon next to the address bar.
  2. Tap Permissions → Notifications.
  3. Adjust your preference.
Chrome (Desktop)
  1. Click the padlock icon in the address bar.
  2. Select Site settings.
  3. Find Notifications and adjust your preference.