Vai al contenuto
View in the app

A better way to browse. Learn more.

Autopareri

A full-screen app on your home screen with push notifications, badges and more.

To install this app on iOS and iPadOS
  1. Tap the Share icon in Safari
  2. Scroll the menu and tap Add to Home Screen.
  3. Tap Add in the top-right corner.
To install this app on Android
  1. Tap the 3-dot menu (⋮) in the top-right corner of the browser.
  2. Tap Add to Home screen or Install app.
  3. Confirm by tapping Install.

Featured Replies

  • Risposte 116
  • Visite 44.9k
  • Creato
  • Ultima Risposta

I più attivi nella discussione

Most Popular Posts

  • superkappa125
    superkappa125

    https://www.instagram.com/p/CnMFFDQjRSk/?utm_source=ig_web_copy_link   Mazda conferma il debutto per la MX30 R-EV al salone di Bruxelles (14-22 gennaio)

  • Depositato il marchio, un pò da supereroe 🤣   depositate anche le sigle   E-SKYACTIV-R  ENERGY  (c'è un progetto di uso del rotativo come generatore portatile di corrente, credo so

  • senza faccine... SI   Ma infatti per me il problema del Wankel oggi sono le emissioni inquinanti /euro 7  in primis , la Co2 è più risolvibile.  Non è un caso che quando la EU ha f

Immagini Pubblicate

Inviato
24 minutes ago, stev66 said:

Il wankel a parità di potenza è molto più leggero di un 4L o 3L.

grazie!

 

 

Inviato

sollecitato, ho cercato un ripasso su cose che lessi au suo tempo, metto solo l'istantanea ma è una pubblicazione di ingegneria, non Cronaca Vera 🤣

in sintesi : Monorotore Wankel---vibrazioni paragonabili a  un tre cilindri a pistoni

                  Birotore Wankel-------vibrazioni paragonabili a  un sei cilindri in linea a pistoni

                  Trirotore Wankel-------Vibrazioni  paragonabili a  un V12 a pistoni

Schermata 2021-12-12 alle 16.34.06.png

Modificato da Matteo B.

Inviato

Mazda usa mono o birotori?

 

Che poi, non essendo legato a una trasmissione e lavorando a regimi favorevoli sarà possibile lavorare molto bene sulle vibrazioni.

Modificato da v13

Inviato
9 minuti fa, v13 scrive:

Mazda usa mono o birotori?

 

Che poi, non essendo legato a una trasmissione e lavorando a regimi favorevoli sarà possibile lavorare molto bene sulle vibrazioni.

Mazda ha prodotto BI (quasi tutti) e TRI (un solo modello)  rotori sempre. Questo sarebbe il primo MONO

 

la macchina che ha vinto la LeMans nel 91 era un QUADRI (credo in pratica un V16 come vibrazioni)

Modificato da Matteo B.

Inviato
  • Autore
2 ore fa, v13 scrive:

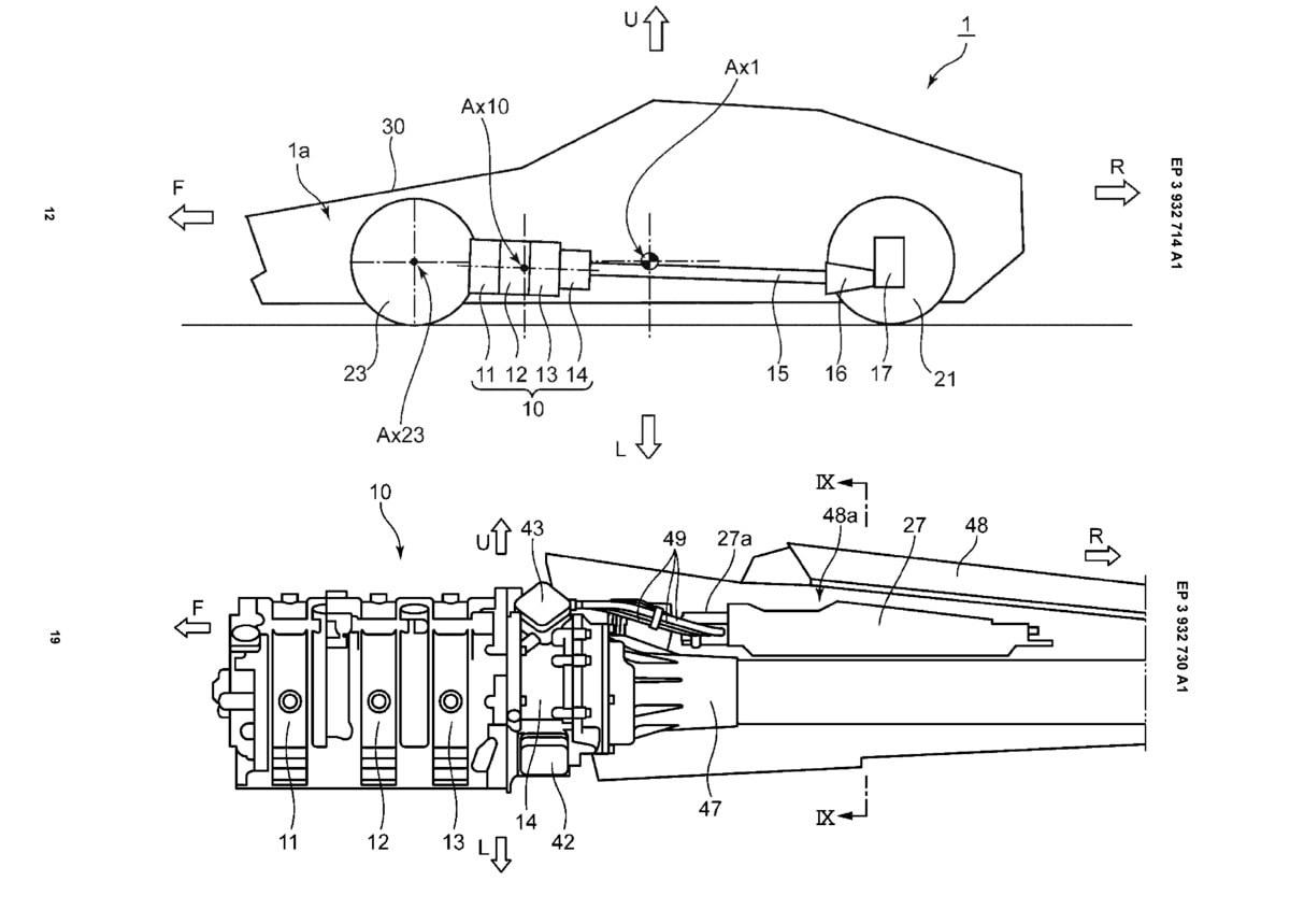
qualcuno più ferrato di me potrebbe spiegare questa immagine? L'insieme sembra davvero molto compatto.

 

L’immagine viene da un forum inglese, ma le scritte sono in tedesco, ho provato a cercare l’originale, ma non l’ho trovato, ad ogni modo da sinistra verso destra si vedono:

 

- il motore elettrico di trazione, che suppongo sia lo stesso presente nell’attuale MX-30 elettrica

- Un blocco di trasmissione, che probabilmente serve ad accoppiare insieme o in modo alternato i due motori alle ruote (non è chiaro se sarà un ibrido serie come quello di Honda dove ad elevate velocità costanti il termico viene accoppiato da una frizione direttamente alle ruote, con rapporto di trasmissione fisso, e staccando il motore elettrico)

- Il monorotore Wankel molto compatto

- Il generatore elettrico che è messo in rotazione dal Wankel e ricarica le batterie, che a loro volta alimentano il motore elettrico.

 

Nell’immagine non sono presenti la centralina e l’inverter che sono posti sopra al blocco motori, come visibile in questa foto

 

image.jpeg.653f745b17554d938575084d11b64150.jpeg

 

Su un sito cinese che riporta l’immagine si trovano queste informazioni

 

“Secondo i calcoli di Mazda, la MX-30 dotata del range extender consuma meno di 6 litri di carburante ogni 100 chilometri (si suppone in modalità ibrida).

Se l'utente fa il 75% del viaggio in modalità plug-in, allora il suo consumo per 100 chilometri è di soli 1,5 litri.”

 

Tenendo conto che secondo le indiscrezioni il pacco batterie sarà la metà della versione EV è ipotizzabile un’autonomia media di 100 km solo in elettrico per la PHEV.

 

 

 

 

Inviato
On 19/12/2021 at 18:26, xtom scrive:

(non è chiaro se sarà un ibrido serie come quello di Honda dove ad elevate velocità costanti il termico viene accoppiato da una frizione direttamente alle ruote, con rapporto di trasmissione fisso, e staccando il motore elettrico)

 

A giudicare dall'accoppiamento meccanico, mi verrebbe da dire che sì, in alcune fasi probabilmente il Wankel concorrerà direttamente alla trasmissione meccanica con un mono rapporto.

  • J-Gian ha modificato il titolo in Mazda dal 2022 l'ibrido con il Wankel
  • 3 settimane fa...

Crea un account o accedi per lasciare un commento

Background Picker
Customize Layout

Account

Navigation

Cerca

Cerca

Configure browser push notifications

Chrome (Android)
  1. Tap the lock icon next to the address bar.
  2. Tap Permissions → Notifications.
  3. Adjust your preference.
Chrome (Desktop)
  1. Click the padlock icon in the address bar.
  2. Select Site settings.
  3. Find Notifications and adjust your preference.