Vai al contenuto
View in the app

A better way to browse. Learn more.

Autopareri

A full-screen app on your home screen with push notifications, badges and more.

To install this app on iOS and iPadOS
  1. Tap the Share icon in Safari
  2. Scroll the menu and tap Add to Home Screen.
  3. Tap Add in the top-right corner.
To install this app on Android
  1. Tap the 3-dot menu (⋮) in the top-right corner of the browser.
  2. Tap Add to Home screen or Install app.
  3. Confirm by tapping Install.
Messaggio aggiunto da __P

Aggiornato al 13/02/2026


2026

• Amalfi Spider ➡️ PRESENTATA!

• F244 ~ Luce ➡️ SPY TOPIC

• 296 Challenge Stradale ➡️ SPY TOPIC

2027

• F171 M ~ 296 M ➡️ SPY TOPIC

 

Modelli in presentazione fino al 2030

• F175 M ~ Purosangue M

• Icona SP4

• F245 ~ Sportcar BEV ➡️ RUMORS TOPIC

• F246 ~ Sportcar BEV Cabrio

• Icona SP5

 

 

 

Modelli presentati nel corso del 2021

• 296 GTB ➡️ PRESENTATA!

• Daytona SP3 ➡️ PRESENTATA!

Modelli presentati nel corso del 2022

• 296 GTS ➡️ PRESENTATA!

• Purosangue ➡️ PRESENTATA!

• 296 GT3 ➡️ PRESENTATA!

• 499P WEC ➡️ PRESENTATA!

 

Modelli presentati nel corso del 2023

• Roma Spider ➡️ PRESENTATA!

• SF90 XX Stradale & Spider ➡️ PRESENTATE!

• 296 Challenge ➡️ PRESENTATA!

• 499P Modificata ➡️ PRESENTATA!

 

Modelli presentati nel corso del 2024

• 12Cilindri ➡️ PRESENTATA!

• 12Cilindri Spider ➡️ PRESENTATA!

• F80 ➡️ PRESENTATA!

Modelli presentati nel corso del 2025

• 296 Speciale & 296 Speciale A ➡️ PRESENTATE!

• 296 GT3 Evo ➡️ PRESENTATA!

• Amalfi ➡️ PRESENTATA! 

• 849 Testarossa & 849 Testarossa Spider ➡️ PRESENTATA! 

Featured Replies

  • Risposte 2.2k
  • Visite 611.9k
  • Creato
  • Ultima Risposta

I più attivi nella discussione

Most Popular Posts

  • poliziottesco
    poliziottesco

    Io apprezzo molto che ci siano utenti che scrivono dall’estero, anche perché sono sempre molto educati e spesso apportano notizie interessanti, quindi magari un piccolo sacrificio a capire (o tradurre

  • La roadmap dovrebbe essere questa: far entrare Maserati in Ferrari nel 2025, con Alfa che segue nel 26, nel 27 Lancia, poi Abarth, Fiat e così via fino al 2040, quando il gruppo sarà completo e cambie

  • Se degli utenti non parlano italiano, preferisco leggere in inglese che non leggere quello che hanno da dire. E poi è la millesima volta che viene fatta questa manfrina sul parlare italiano, anche bas

Immagini Pubblicate

Inviato
1 ora fa, VuOtto scrive:

diamo un po' di indizi.....quella che assomiglia (molto) alla SF90.

Quella fatta dalla più famosa carrozzeria torinese?

Inviato

A proposito di quel presunto plagio…

 

Non ho capito se la Ferrari abbia visto in anteprima il modello da presentare al prossimo salone di Ginevra o se si tratti di qualcosa di già visto in un salone precedente.

 

In quest’ultimo caso non è possibile fornire una rosa di possibili candidati (senza puntare il dito su una ovviamente, poi ognuno trae le proprie conclusioni) dato che si tratta appunto di show car già presentate e che si sta discutendo di una notizia già pubblicata?

 

 

 

 

 

Inviato
48 minuti fa, savio.79 scrive:

A proposito di quel presunto plagio…

 

Non ho capito se la Ferrari abbia visto in anteprima il modello da presentare al prossimo salone di Ginevra o se si tratti di qualcosa di già visto in un salone precedente.

 

In quest’ultimo caso non è possibile fornire una rosa di possibili candidati (senza puntare il dito su una ovviamente, poi ognuno trae le proprie conclusioni) dato che si tratta appunto di show car già presentate e che si sta discutendo di una notizia già pubblicata?

 

 

Suppongo si intenda la supercar elettrica di un carrozziere del torinese che tutti quando è uscita hanno detto ricordare una Ferrari.

Altre non mi vengono in mente

Inviato

Va bene ma se continuiamo con i rebus non ci capiamo.

Anche perché c’è chi vede Audi in Giulia e Ford puma e 599 nelle Maserati…

 

Dicevo: se un giornalista non può far nomi fino a quando gli atti del tribunale non siano pubblici… un gruppo di appassionati che commenta una notizia, può permettersi di avanzare ipotesi (specificando che sono tali, senza millantare certezze), oppure arriva l’esercito se solo si pronuncia un nome?

 

 

 

Inviato

rileggendo la notizia però si parla di un progetto portato da un singolo, non da una società,  quindi mi sa che non è la Battista

Inviato

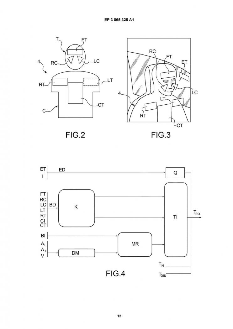
Ferrari ha brevettato un sistema di climatizzazione molto innovativo che potrebbe debuttare sulla Purosangue. Un sistema di termocamere e sensori rivelano la temperatura in tutte le parti dell'abitacolo e dei passeggeri, riconoscendone anche il sesso, la corporatura e il tipo di abbigliamento. Questi dati serviranno al sistema di poter gestire in completa autonomia i flussi, la temperatura, la direzione e la circolazione dell'aria nell'abitacolo in modo da creare 3 garantire un ambiente ottimale. Chissà se arriverà davvero 

 

Ferrari-Climate-Control-System-Patent-main.thumb.jpg.8a7014c2d2587ee2e9e357ae87ecc32b.jpgFerrari-Climate-Control-System-Patent-1.thumb.jpg.c433a3afad1b647b9eb3c3702498bf0a.jpgFerrari-Climate-Control-System-Patent-2.thumb.jpg.50b6510d36833911c8105d001edf0fbb.jpgFerrari-Climate-Control-System-Patent-3.thumb.jpg.901d799c91c4cc4ba1495619afc45463.jpg

 

https://www.carscoops.com/2021/08/ferrari-patent-shows-the-air-conditioning-system-of-the-future/

 

 

1486064684650356737.gif.a00f8cace62773a93b9739b2906757ee.gif

Inviato

[emoji3590][emoji2419][emoji2419][emoji2419][emoji2419][emoji2419]

Fai parte della comunità LGBT+ o vorresti supportarci? Iscriviti alla nostra pagina su Instagram: @motorpride_it

🏳️‍🌈

Inviato

Già che ci sono potrebbero fare in modo che se c'è qualcuno con la febbre l'auto non si avvii. O si è costretti andare all'ospedale più vicino 🤣

A parte gli scherzi è interessante come sistema. 

Crea un account o accedi per lasciare un commento

Background Picker
Customize Layout

Account

Navigation

Cerca

Cerca

Configure browser push notifications

Chrome (Android)
  1. Tap the lock icon next to the address bar.
  2. Tap Permissions → Notifications.
  3. Adjust your preference.
Chrome (Desktop)
  1. Click the padlock icon in the address bar.
  2. Select Site settings.
  3. Find Notifications and adjust your preference.